IASC LOGO
Who are we?
Inspired in Australia, a nation leading the world in Solar Cooling, IASC began in 2017 with people from Canada, Thailand and Australia, blending a spectrum of interests and organizations;
Designers. Engineers, Enthusiasts and Businesses, all focused on developing and promoting solar cooling technologies.

Our Vision:
To be a socially-conscious educator, facilitator and promoter of using the energy of the sun for Cooling and Refrigeration -- an industry estimated at over a US$300 Billion per year.  


Mission:
To support those involved in solar cooling by building a community of members, partners and other parties, who are committed to sharing knowledge, practice, research and training on Solar Cooling. With a focus on further design and development of solar cooling technologies, the association will also work to facilitate public exposure for all solar alternatives
.
 

Early solar for 'cooking', not 'cooling'  :)
 
 



  
What do we do?

Your Association is a connector, educator and facilitator for a better future using technology and embracing "change in Solar Cooling." 
We achieve this by:
  • Education
  • Special Interest Groups 
  • Covid 19 ended plans for a World Congress


Membership Categories (2017-22)
Professionals  - engineers, architects, researchers, etc.

Associate  - boardroom, sales and active employees
Students  - full-time students, including (but not limited to) those in engineering and environmental fields 
Community  - enthusiasts and supporters; IASC recognizes the many breakthroughs made by this group including  support from those concerned with social, economic, environmental and other implications associated with Solar Cooling.

Changes in membership structure have been influenced by recommendations, for which we are very greateful. Any suggestions regarding future detailed addition of Fellowship and Life memberships are welcomed.

Benefits:

Advocacy, collegiality, networking and support of a peer group of professionals via discussion, events and social media.


Yazd, Iran


 
masthead

   
Core Values:

We are passionate about Solar Cooling and the Environment, driven by the knowledge and experience of better engineering and technology outcomes and improved health.
We draw inspiration from both contemporary and ancient technologies as well as general science, balanced with the needs of each individual, business and research body.
We aspire to practice with the utmost integrity for the health and benefit of all.

We believe in

  • Social responsibility
  • Integrity
  • Accountability
  • Respect and honesty
  • Continuous improvement
  • Independence


 
Key Features:

Leadership: We seek to promote education in solar cooling worldwide and support those who do that work.  We make efforts to represent solar cooling efforts by organizations, business, regulators, government and the public.
Education: We are available to provide support in advocating for comprehensive inclusion of innovation in solar cooling and
solar cooling in mainstream education.
Engagement: We open doors to a large, passionate and active community of practicing professional and technical people as well as the wider public.
Infrastructure:  We promote an adaptive, sustainable infrastructure, a strong governance framework and a highly skilled and respected staffing group highlighted by secure finances.

 
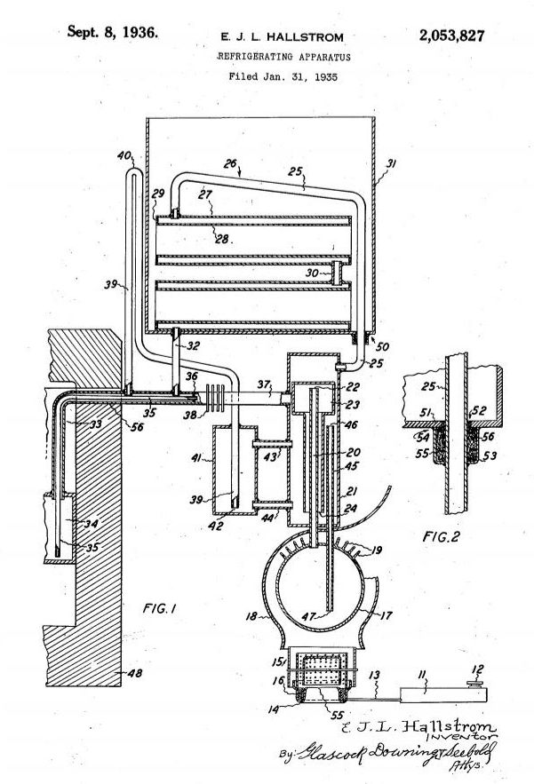
Early Australian heat-driven ice-maker

(no moving parts)
Halstrom


International Association for Solar Cooling
helping to convene
2020 Congress

 Potential Sponsors and Commercial Exhibitors as well as Organizations and Institutions interested in active participation in the 2021 World Congress on Solar Cooling and Refrigeration can contact Congress Convener Robert Quimby.   rquimby@solarcoolingcongress.org 

 Congress permanently "On Hold"


 
 Early Canadian heat-driven refrigerator and ice-maker

(a little attention generated a lot of cooling)
Icy Ball



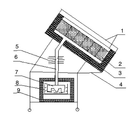
Solar ice maker from China. Like the other two: no-valves and no moving parts.
(From 2002 report "Development of no valve solar ice maker"  M. Li, C.J. Sun, R.Z. Wang, W.D. Cai)


no-value plan
no-valve pic


.................................................................................................

These (above) food-for-thought examples have younger and older relatives.
We encourage designers to work with architects and developers, believeing
industry-wide input is needed for the best adaptation of emerging systems.
     


     There are many ways to generate cold without burdening the power grid, without expending more heat into the streets and without financially penalizing the billions of people living where both energy prices and temperatures are on the rise. There is knowledge to be disseminated, support to be shared and work to be done.
-- Harold Finkleman, President IASC  





IASC, PO Box 2045, KAMBAH 2902, A.C.T., Australia